Язык
Валюта
€
$
Br
р.
Корзина
0 товар(а,ов) - 0.00р.
В корзине ничего нет!
Добро пожаловать вы можете
войти
или
зарегистрироваться
.
Главная
Каталоги
Мой профиль
Отложено (0)
Корзина
Вы смотрели
51288
SPIDAN
Купить
18273
LEMFORDER
Купить
70275
KOYO
Купить
8500 10820
TRISCAN
Купить
13172AL
FORTLUFT
Купить
Начало
»
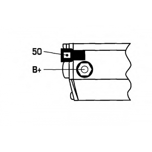
D041214 DA SILVA Стартер
D041214 DA SILVA Стартер
Производитель:
DA SILVA
Артикул:
D041214
Купить
- ИЛИ -
Отложить
Отзывов: 0
|
Оставить отзыв
Поделится
Описание
Спецификация
Отзывы (0)
Применяемость
Аналогичные товары (11)
D041214 DA SILVA Стартер
Модель бортовой сети
NULL
Мощность стартера [кВт]
1
Число зубцов
9T
Количество резьбовых отверстий
2
Количество крепежных отверстий
2
Оставить отзыв
Ваше Имя:
Ваш Отзыв:
Примечание:
HTML не поддерживается!
Рейтинг:
Плохо
Хорошо
Введите код указанный ниже:
Продолжить
0.004551
SPIDAN
Купить
041214
DA SILVA
Купить
111785
HOLGER CRISTIANSEN
Купить
1280005840
DENSO
Купить
25-1380
ELSTOCK
Купить
28100-42040
TOYOTA
Купить
635009092
DRI
Купить
8EA737487
HELLA
Купить
DRS3386
DELCO REMY
Купить
JS1103
HOLGER CRISTIANSEN
Купить
LRS1234
TRW
Купить
Тэги:
,
JAPANCARS.RU
JapanCars.ru © 2026